国家队来了!
10月11日晚,四大国有银行齐齐发布公告官宣,获中央汇金投资有限责任公司(下称“中央汇金”)增持。
这一消息让市场人士大为振奋。周四开盘,A股市场明显受到此消息提振,12日两市开盘股指全线飘红,沪指一度收复3100点,银行、保险、券商板块集体拉升,四大行股票一度涨超2%。截至午盘收盘,上证指数涨0.83%。

截至周四午盘,四大行股价飘红。
中央汇金是一家什么公司?为什么其出手总是牵动着市场神经?距离上一次中央汇金出手已经过去8年,此时再度出手为哪般? 本轮增持将给A股带来什么变化?此次释放了哪些投资信号?
带着这些问题,我们来看看汇金的这次出手。
01
为什么是汇金?为何选在此时出手?
据工农中建四大行的公告均显示,中央汇金首次出手各增持了0.1%股份,以10月11日收盘价测算,投入资金约4.77亿元。
本次出手的中央汇金公司在金融业内的大名无人不晓。它是由国家出资设立的国有独资公司,代表国家依法行使对国有商业银行等重点金融企业出资人的权利和义务,实现国有金融资产保值增值。
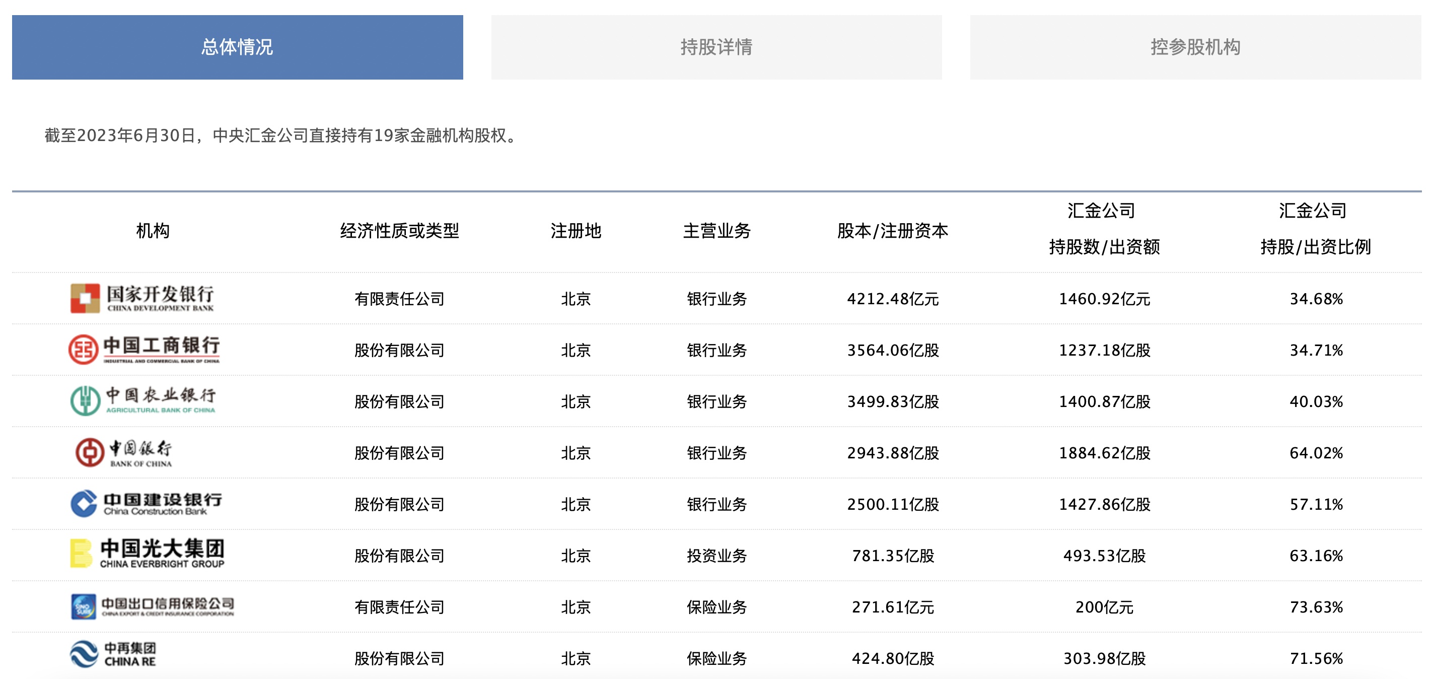
根据其官网显示的数据,截至2023年6月30日,中央汇金公司直接持有19家金融机构股权,其中占工农中建四大行的持股/出资比例分别为34.71%、40.03%、64.02%和57.11%。

截至6月30日,中央汇金公司直接持有多家金融机构股权。
根据四大行公告,此番增持仅为开始。中央汇金将在未来6个月内(自本次增持之日起算)以自身名义继续在二级市场增持四大银行。
中央汇金为何选在这个节点出手?
从影响近期市场的因素看,宏观层面,最新的9月PMI重回扩张区间,而在之前数月PMI持续位于荣枯线之下。CPI持续低位徘徊,PPI持续下行。
过去5个月间,上证综指跌近340点,面对盘面上指数逼近3000点、北向资金连续大幅净卖出、单日万亿元成交量多日未见等情况,近来为股市带来增量资金的呼声越来越高。
“汇金公司此时‘真金白银’出手,对于A股市场意义重大。” 前海开源基金首席经济学家杨德龙指出,中央汇金承诺增持四大行,释放出“持续投入”、呵护市场的积极信号,将有力提振市场信心。
杨德龙指出,从今年上半年银行股表现看,业绩普遍稳定,中央汇金增持也有助于银行股的估值修复。受利好刺激,今天银行板块拉升。
民生证券表示,过去几年银行股受到严重冲击,四大行股价先后跌破净资产,中央汇金选择在低点增持,具有相对较高的安全边际。
02
中央汇金出手会带来哪些变化?
从历史来看,中央汇金增持银行股早有先例,且多在“救市”节点附近推出。
2013年6月13日,股市低迷之际,中央汇金下场护盘,增持工行股票1932.14万股,增持农行股票4293.49万股,增持中行股票1846.59万股,增持建行股票2449.04万股。另外,还增持光大银行和新华保险股票。同月,当上证指数跌至1849点之际,汇金再次出手大量申购指数类ETF基金,令市场止住下跌趋势。
此外,在上一次中央汇金下场的2015年中,股市大幅波动之际,中央汇金公司曾经入市护盘,在二级市场买入ETF。当年7月5日,央行表示给予中证金公司流动性支持,此外中央汇金宣布称已买入ETF并且还将继续买入。次日市场大涨2.41%。
平安证券认为,汇金增持有利于提振市场情绪,从历次汇金增持后的市场短期表现来看,虽然增持后市场并不一定即刻迎来反转,但其所传递出的积极信号依然明确,有助于市场情绪的修复。
针对此次中央汇金的增持,中信证券指出,一方面考虑在近期A股整体量价表现低迷背景下,稳定投资者信心,带动更多增量资金入场,显示了对四大行经营和估值修复的信心;另一方面对全市场有“平准”作用,不排除后续增持其他金融股或市场个股的可能性,进而带动市场信心修复和增量资金入场。
中金公司也认为,当前中央汇金入场不仅为市场带来边际增量资金,也有利于稳定投资者信心。虽然近期海外市场尤其美债冲高对全球风险资产表现都带来一定影响,但国内较多经济数据,包括PMI、工业企业利润、通胀等均显现内生增长动能有边际修复的迹象。
03
还有什么“救市”大招?
针对A股市场低迷情况,近日来建议成立“平准基金”的讨论渐多。本次中央汇金出手救市后,还可能会有哪些大招?
不少业内人士指出,作为“国家队”的中央汇金可在一定程度上相当于半个“平准基金”。中泰证券首席经济学家李迅雷表示,对于振兴资本市场的政策工具,可以考虑设立市场平准基金,先从外汇储备资产中拿出一部分配置港股做起,再逐步把增持扩大到A股市场。
平准基金又称干预基金,是政府通过特定的机构以法定方式建立的基金,它对证券市场进行逆向操作,熨平非理性的剧烈波动,以达到稳定证券市场的目的。
东吴证券席宏观分析师陶川指出,境外市场设立平准基金较为普遍,从海外和历史的经验看,提振股市信心、推动股市发挥经济“晴雨表”的作用,平准基金不失为一种“四两拨千斤”的政策手段。包括美国、日本、韩国,香港等国家和地区都设立过或设有平准基金。
中泰证券指出,实际上,A股证金、汇金、养老金等国家相关的“类平准基金”已运行多年,因此相比新设平准基金,后续措施更有可能先将部分基金“公开化”,以取代当前北上资金在投资者心中“聪明钱”的地位。
关于接下来一段时间的市场走势,“结合稳增长政策仍在加码,以及市场整体处于历史低位的估值水平,A股表现有望呈现相对韧性。四季度仍将是政策发力的重要时间窗口,关注阶段性及结构性机会。”中金研报表示。
【采写】南方+记者 周美霖 张艳 实习生 王伟
【制图】南方+记者 周美霖 实习生 王伟
订阅后可查看全文(剩余80%)
