11月13日晚,广州茶里集团有限公司(下称“茶里集团”)针对网传欠薪消息发布声明,称近期被曝存在大面积欠薪、面临倒闭等属不实消息。(前情回顾:茶里被曝拖欠多月工资,公积金延缴近半年)
声明表示,因银行抽贷,茶里集团面临巨大压力和挑战,需要企业不断调整产品策略、优化运营成本。同时,茶里集团为努力保持经营和品牌、寻求可持续发展,对个别部门依法进行精简或裁撤,属于企业在应对市场风险和竞争的正常经营、管理行为。
所谓“抽贷”,是指银行贷款给企业,在还未到协议规定的还款期限期间,银行认为企业经营出现问题,要提前收回贷款的行为。对于企业借款人来说,如果企业经营出现严重问题,如业绩大幅下滑、亏损严重、资金链断裂等,银行也会考虑抽贷。

事件发酵前,多名用户在社交平台上发布曝光帖。
声明还表示,截至声明发稿之日,茶里集团已依法完成离职与在职员工的发薪及补偿(10月发薪日为止应付的薪资、补偿)。
“我确实收到了部分薪资和补偿”,声明发出后,一位用户向记者证实该行为。与此同时,多名用户发布的曝光帖已删除。

声明发出后,多名用户曝光帖已删除。
记者留意到,11月13日下午17时左右,一名用户在多个现存欠薪帖下方发布律师声明。该律师声明表示,近期网络上出现关于茶里集团“欠薪”“倒闭”等言论部分缺乏事实依据。对于继续传播谣言的行为,该律师事务所将会代表茶里集团依法采取相关措施。
一位5年前曾在茶里集团工作过的员工告诉记者,2020年茶里集团曾经有过“欠薪风波”,当时也有裁员、欠薪、延缴公积金等情况发生,但最终平安度过。
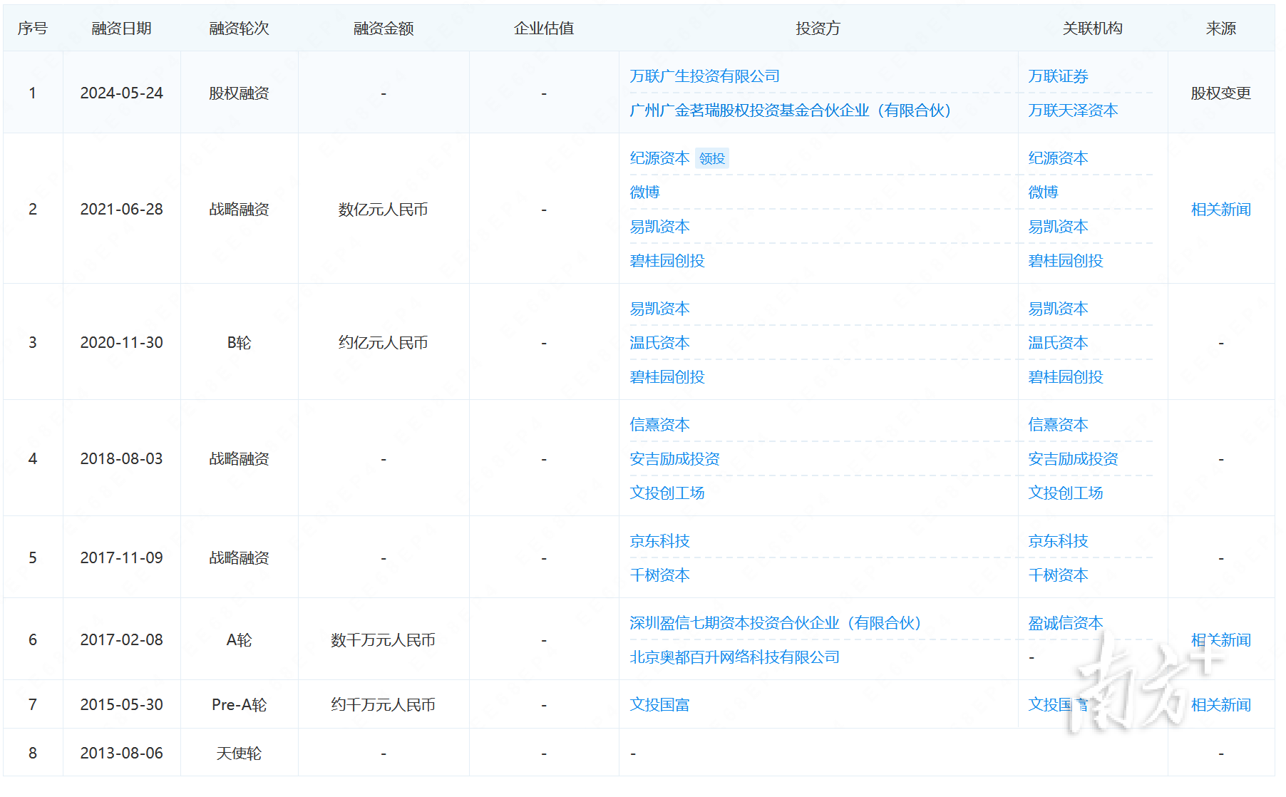
该员工表示,这或与茶里集团当时成功获得融资有关。企查查信息显示,2020年11月,茶里集团完成了亿元级B轮融资,由碧桂园创投领投,温氏投资、易凯基金跟投;2021年6月,茶里集团完成了新一轮数亿元融资,由纪源资本领投,老股东碧桂园创投、易凯资本跟投。
采写:南方农村报记者 严秋璠
订阅后可查看全文(剩余80%)


